Prosimy, odblokuj wyświetlanie reklam w naszym serwisie, są one związane z rynkiem nieruchomości.
To dzięki nim masz darmowy dostęp do naszych treści.

Z pozdrowieniami zespół KRN.pl :)


telefon

wiadomość

mapa

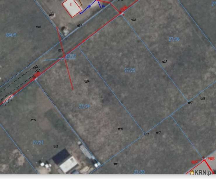
Działki, Macharce

Działki na sprzedaż Macharce (woj. Podlaskie)

Lokalizacja:

Macharce, , ul.

Powierzchnia:

1000 m2

Cena:

119 000 zł

Dane szczegółowe

lokalizacja:
Podlaskie, Macharce
typ obiektu:
działka na sprzedaż
cena:
119 000 zł
powierzchnia:
1000 m2
numer ogłoszenia:
582770
data dodania:
08-03-2025
data modyfikacji:
22-11-2025
jakość wypełnienia oferty:
86%

Szczegóły oferty

TYLKO W NASZYM BIURZE Mam do zaoferowania działek w bliskiej odległości od Augustowa miejscowość Macharce .Numery działek 27/25 oraz 27/26 Bliskiej odległości stoją Domy mieszkalne . Do działek doprowadzony jest prąd (skrzynka) .Działki równe ustawne .Bliska odległość do jeziora .Cena do negocjacji Masz pytania zapraszam do kontaktu

Oceń ofertę


3


399 wydruk błąd schowek

Ostatnio przeglądane

 

 

 

pobieranie

Pobierz wzór umowy

Umowa przedwstępna sprzedaży

wybierz plik do pobrania
doc pdf

 

 

Deweloperzy

);